爱游戏ayx热门直播Reliance Foundry酒店的太阳能自行车系船厂提供方便的自行车存储,带有太阳能照明。类似的环氧粘合剂锚固系统,如AC100 +金粘合剂锚固系统*用于固定自行车铺架的螺纹杆。
值得注意的是,通过这种安装方法,太阳能自行车系杆将提供有限的抗冲击性。自行车系船柱的功能主要用于自行车存储,照明和景观突出。太阳能钢板是自包含的设备,需要很少的持续维护。
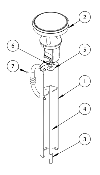
零件清单
| # | 部分 | QTY. |
|---|---|---|
| 1 | 自行车铺柱基地 | 1 |
| 2 | 自行车系船板太阳灯帽 | 1 |
| 3. | 螺纹栏1“ | 1 |
| 4. | 垫圈1“ | 1 |
| 5. | 六角螺母1“ | 1 |
| 6. | 六角形插座按钮头盖螺栓防篡改 | 3. |
安装设备
| 1-1 / 8“砌体钻头 | 1-1 / 2“扳手 |
| 特殊的十六进制钥匙 | 锤子钻或旋转锤 |
| 真空 | 卷尺 |
| 压胶枪 | 等级 |
| 粉笔 | AC100 +金胶粘剂锚固系统(包括) |
笔记
- 为了保护饰面,将自行车盗用放在原装包装中,直到安装的确切时刻。
- 注意避免刮伤或损坏自行车系母珠表面,因为磨料会导致生锈。
- 一旦划伤,就无法修复自行车系柱,而不重新完成整个表面。

安装前
检查危险
钻孔前始终检查危险,如水管,气体管线和地下布线。
清洁表面
污垢和碎片可以影响自行车系盗的视线和破坏放置。
使用扫帚或压力洗衣机在自行车系杆安装之前清洁混凝土表面。
研究网站计划
网站计划通常由项目的架构师创建。
请参阅站点计划找到并标记每辆自行车系盗板的精确中心点。
为安全安装,请确保存在最小半径**每个标记周围的固体混凝土。
钻孔
创造飞行员漏洞
在每个标记的中心中敲击导洞。
这将防止锤子钻或旋转锤漂移,同时钻孔。
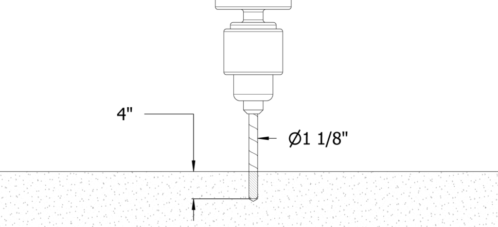
将锤钻(或旋转锤)的深度控制设置为4“
如果不可用深度控制,则在砌体位上标记4“。
钻孔
钻孔具有1-1 / 8“直径和4”深度的孔。
钻孔高速,如果可用,请使用锤子功能。
经常检查砌体比特,以确保它保持不含碎片。
保护盗窃
清除并清洁孔
使用真空清除所有碎屑和/或站立水的孔。用刷子去除任何剩余的松散颗粒。
用粘合剂填充孔
使用填缝枪,分配粘合剂,直到孔为单位满。
为防止空气口袋成型,缓慢取出混合喷嘴。
将盗窃靠近螺纹杆附近
将盗用保留在其保护包装中。小心地将盗窃放在安装位置附近。
准备安装时,拆下其保护包装。
将盗窃放在钻孔上
将系柱底座直立,使其机动,以便中心与钻孔线。
插入螺纹杆
通过铺柱的轴降低螺纹杆。在转动正面粘附时将整个4“插入螺纹杆进入孔中。杆应位于铺柱的轴上,不应超过23英寸。
注意:锚定系统需要最少45分钟以68˚F设置。请勿打扰扭矩或装载锚,直到粘合剂完全固化。
将垫圈设置在螺纹杆上
将垫圈放在螺纹杆上,使其搁置在系柱的轴上。
将1“螺母涂在螺纹杆上并使用扳手拧紧,直到盗工是安全的。
注意:务必检查自行车盗窃武器的方向,然后确保自行车盗窃。
安装太阳灯帽
连接电池
随着照明组件仍然在其包装中,将电池的电线插头定位并连接到附接到灯具的2针插座。
一旦连接,照明灯具将运行测试图案,并可闪烁3-5秒。
注意:如果灯不闪烁,请停止安装和联系爱游戏ayx热门直播Reliance Foundry的销售部门寻求帮助。
保护太阳灯帽
从包装中取出太阳灯盖。
将太阳灯盖放在自行车系船柱的轴上。
用三个螺栓将太阳能灯盖固定到铺柱底座上并平等拧紧。
注意:对于不对称照明,考虑照明图案。在安装太阳灯盖时,将其扭转到所需的照明图案,然后拧下。
检查
检查安装
从一段距离检查视图。
确保自行车系盗管垂直,表面平坦。
检查自行车盗窃案是否有任何表面损坏的迹象
应尽快覆盖擦伤,以防止生锈并确保自行车系股权的适当生活。有关损坏维修或其他服务需求,请联系爱游戏ayx热门直播Reliance Foundry的销售部门。
护理和维护
爱游戏ayx热门直播Reliance Foundry将其产品生产给最高的设计标准,以确保其耐用性。爱游戏ayx热门直播Reliance Foundry的自行车系杆状物持续持久粉末涂料。在大多数北美环境中,常规检查和清洁将确保自行车盗窃案保留了他们的美学吸引力。适当的护理和维护需要维护完成并确保完整的使用寿命。
*请参阅胶粘剂制造商MSDS.(包括在发货)之前。↩
**混凝土插入制造商如www.ucanfast.com.为最低线索推荐特定测量。↩

