爱游戏ayx热门直播信实铸造公司的太阳能自行车护柱提供了方便的自行车存储和道路照明,同时最大限度地减少不适当的自行车停放造成的障碍。带法兰底座的自行车护柱可以安装在现有的混凝土上,使用落在混凝土插入物。插入式混凝土插入件只能安装在至少4″厚的完全固化混凝土中。*此安装指南中的所有测量均采用裸露的混凝土表面。
值得注意的是,通过这种安装方法,太阳能自行车系杆将提供有限的抗冲击性。系船柱的功能主要用于自行车存储,照明和景观突出。太阳能钢板是自包含的设备,需要很少的持续维护。
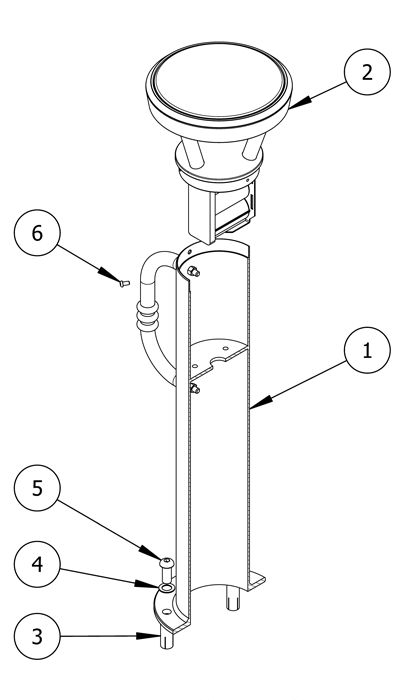
零件清单
| # | 部分 | QTY. |
|---|---|---|
| 1 | 带自行车武器的法兰自行车铺柱底座 | 1 |
| 2 | 自行车系船板太阳灯帽 | 1 |
| 3. | 5/8″Drop-in Concrete Insert | 3. |
| 4. | 5/8“垫圈 | 3. |
| 5. | 5/8″内六角头帽螺栓 | 3. |
| 6. | 1/4“六角形插座按钮头盖螺栓防篡改 | 3. |
安装设备
| 7/8″砖石钻头 | 5/8″插入设置工具(或同等工具) |
| 3/8“六角钥匙 | 特殊的六角扳手 |
| 扫帚/高压清洗机 | 真空 |
| 粉笔 | 锤子 |
| 锤子钻或旋转锤 | 水平 |
| 卷尺 | |
请注意
- 为了保护完成,保持自行车系柱在原来的包装,直到准确的时刻安装。
- 注意避免刮伤或损坏自行车系母珠表面,因为磨料会导致生锈。
- 一旦划伤,自行车护柱不能修复到原来的形式,除非重新整理整个表面。

安装前
检查危险
在钻孔之前,一定要检查水管、煤气管道和地下线路等危险因素。
干净的表面
灰尘和碎片会影响视线,扰乱自行车护柱的位置。
使用扫帚或压力洗衣机在自行车系杆安装之前清洁混凝土表面。
研究场地平面图
场地平面图通常由项目的建筑师创建。
参考工地平面图确定并标记每个自行车系柱的精确中心点。
指定您的洞标记
把自行车护柱放在它的保护包装里。将自行车盗窃放在每个中心点标记上,使自行车铺柱的中间符合中心点。
注意:对于不对称的光分布,务必立即对方向进行必要的调整。确定光的方向并相应地配置孔标记。一旦钻孔并安装,就无法旋转自行车盗窃。
用粉笔为每个螺栓创建钻孔标记。为了保证安装的安全性,请尽量减小安装半径* *每个标记周围的固体混凝土。
取出自行车盗窃。
注意:一定要检查自行车系柱臂的方向,现在做任何必要的调整。一旦钻孔并安装,就无法旋转自行车盗窃。
钻孔
创造飞行员漏洞
在每个标记的中心中敲击导洞。
这将防止锤子钻或旋转锤漂移,同时钻孔。
将锤钻(或旋转锤)的深度控制设置为2-1 / 2“
如果无法控制深度,请在砌体钻头上标记2-1/2″。
钻孔
钻孔直径为7/8″,深度为2-1/2″。
在高速上钻孔,如果可用,使用锤击功能。
经常检查砌体比特,以确保它保持不含碎片。
保护盗窃
清除并清洁孔
用真空吸尘器清理洞内所有的碎片和/或积水。
将插入式混凝土插入每个孔中
随着开槽端朝下,将下降混凝土插入(A)驱动到下降,直到掉落的顶部嵌入式嵌入式嵌入式与混凝土表面齐平。
设置液滴混凝土插入件
将设定工具(b)插入每个孔中,然后锤击。
如果不可用适当的设置工具,则可以使用等效的平端打孔。
这将导致内部膨胀塞设置的drop-in混凝土插入到位。
将自行车铺柱底座放在坠落的混凝土插入件附近
把自行车护柱放在它的保护包装里。小心地将自行车系柱底座放置在靠近安装位置的地方。
安装前,请拆除防护包装。
把自行车系柱放在洞上
把自行车护柱放在它的保护包装里。小心地将自行车系杆放置在安装位置,使自行车铺柱的孔直接位于钻孔和混凝土插入件的顶部。
安装前,请拆除防护包装。
保护自行车盗窃案
将垫圈放在自行车系柱上的孔上,并将螺栓安装到位。
用内六角键拧紧螺栓,直至紧固。按循环均匀紧固螺栓。
安装太阳能灯盖
连接电池
当照明组件仍在其包装中,找到电池的电线插头,并连接到连接到灯具的2针插座。
一旦连接,照明灯具将运行测试图案,并可闪烁3-5秒。
注:如指示灯不闪烁,请停止安装并接触爱游戏ayx热门直播Reliance Foundry的销售部门寻求帮助。
固定太阳能灯盖
从包装中取出太阳灯盖。
将太阳灯盖放在自行车系船柱的轴上。
用三个螺栓将太阳能灯盖固定到铺柱底座上并平等拧紧。
注意:对于非对称照明,请考虑照明模式。当附加太阳能灯帽,拧到所需的照明模式,然后螺栓下来。
检查
检查安装
从一段距离检查视图。
确保自行车系盗管垂直,表面平坦。
检查自行车系柱是否有表面损坏的迹象
磨损处应尽快覆盖,防止生锈,确保自行车系柱的正确使用寿命。如需损坏维修或其他服务,请联系爱游戏ayx热门直播Reliance Foundry的销售部门。
维护与保养
爱游戏ayx热门直播信实铸造以最高的设计标准制造产品,以确保其耐久性。爱游戏ayx热门直播信实铸造厂的自行车护柱的完成与持久粉末涂料。在大多数北美环境中,常规检查和清洁将确保自行车盗窃案保留了他们的美学吸引力。适当的护理和维护需要维护完成并确保完整的使用寿命。
*混凝土插入制造商如www.ucanfast.com推荐更大的混凝土深度,用于进入刀片。↩
**混凝土镶件厂家如www.ucanfast.com建议最小半径的具体测量方法。↩

