使用Reliance Foundry的自行车罩盖的依据添加安全的自行车存储功能,保护您的管道系盗。爱游戏ayx热门直播自行车系柱封面加入时尚,现代设计元素到预安装的管道系柱。类似环氧的粘合剂锚固系统用于将自行车盗用盖子安装到管道盗位内的现有混凝土中。
值得注意的是,将自行车系母屋盖添加到现有的管柱不会影响抗冲击性。抗冲击程度与原始安装直接相关。
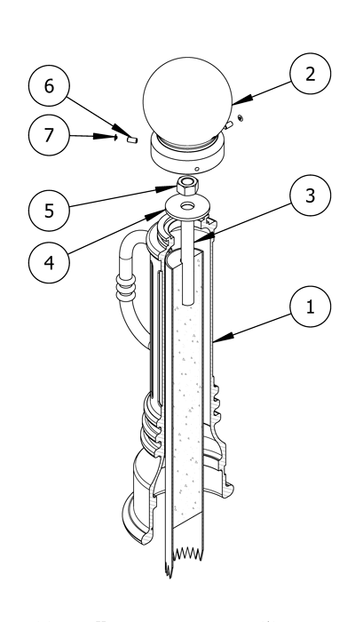
零件清单
| # | 部分 | QTY. |
|---|---|---|
| 1 | 自行车带缆桩封面 | 1 |
| 2 | 自行车带缆桩帽 | 1 |
| 3. | 螺纹杆1” | 1 |
| 4. | 洗衣机1” | 1 |
| 5. | 六角螺母1” | 1 |
| 6. | 内六角紧定螺钉 | 3. |
| 7. | 塑料塞子 | 3. |
安装设备
| 1-1 / 8“砌体钻头 | 卷尺 |
| 1-1 / 2“扳手 | 压胶枪 |
| 1-1 / 8“砌体钻头 | 水平 |
| 锤钻 | 粉笔 |
| 粘合剂锚固系统 | |
请注意
- 为了保护完成,保持自行车系柱在原来的包装,直到准确的时刻安装。
- 注意避免刮伤或损坏自行车系母珠表面,因为磨料会导致生锈。
- 一旦划伤,自行车护柱不能修复到原来的形式,除非重新整理整个表面。

安装前
检查管道系柱
检查预安装的管道系尺是否有损坏的迹象。任何生锈都应被移除,应尽快覆盖擦伤。如果损坏超出修复,可能需要安装新的管道系柱。
垂直靠在管道盗工界面上垂直保持水平,并确保它是铅铅。
注意:任何管道系柱的损坏或倾斜都会影响自行车系柱盖的性能。
清洗并干燥管系柱
刷或擦拭管道系柱的表面。碎片可以抵消测量和自行车系柱盖的放置。
标记自行车系杆盖的放置
用粉笔在管柱内的混凝土上标出中心点。
钻孔
创建定位孔
点击孔标记中心的先导孔。
这将防止旋转锤在钻孔时漂移。
将锤钻(或旋转锤)的深度控制设置为4“
如果不可用深度控制,则在砌体位上标记4“。
钻孔
钻一个具有1-1 / 8“直径和4”深度的孔。
确保钻头水平。在高速上钻孔,如果可用,使用锤击功能。
经常检查砌体比特,以确保它保持不含碎片。
清除洞
清除使用真空的所有碎片的孔。用刷子去除任何剩余的松散颗粒。
安装自行车系杆盖
有两种选择安装自行车护柱盖和插入螺纹杆。选项1:插入螺纹杆后,自行车护柱覆盖位置,或选项2:插入螺纹杆前,自行车护柱覆盖位置。
选项1(插入螺纹杆后,自行车护柱盖放置)
用粘合剂把洞填满
使用填缝枪,将粘合剂从自下而上分配,直到孔为单位满。
为了防止气泡形成,要缓慢地抽出混合喷嘴。
清洗管系柱表面
用布清洁任何残留物,灰尘或碎屑。
准备自行车系杆盖安装
将自行车护柱盖放在其保护性包装内,并放置在安装地点附近。
安装前,请拆除防护包装。
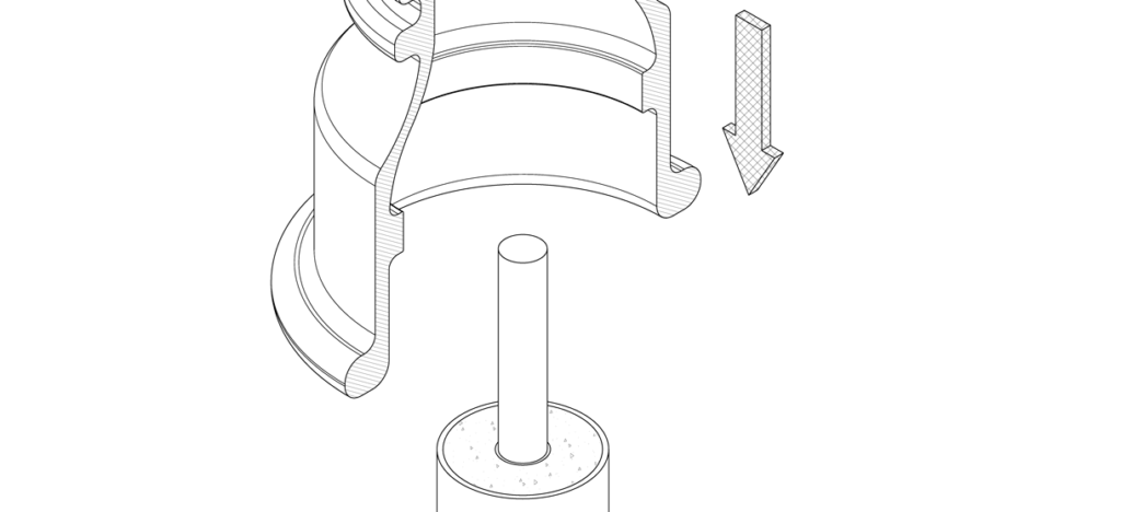
把自行车护柱盖放在水管护柱上
提起自行车护柱盖,并将其降低到管道护柱之上。
注意:金属自行车铺柱封面可以重力,以防止事故和伤害,确保适当的资源可用于将自行车盗窃覆盖物抬起或安装在其安装上。爱游戏首页
插入螺纹杆
将螺纹杆插入孔内,同时旋转,以确保积极的附着力。
使用水平确保自行车铺架盖板是铅笔,并进行任何必要的调整。
注:锚定系统在68华氏度下至少需要45分钟才能设置。在粘合剂完全固化之前不要搅动。
选项2(在自行车盗用盖板之前插入螺纹杆)
准备螺纹杆
检查螺纹杆的长度是否正确,将螺纹杆暂时插入钻孔内。
测量从表面等级到螺纹顶部的总距离。确保此总距离不超过产品图中的最大棒高度。完成后拆下螺纹杆。
注:最大杆高度根据自行车护柱盖板型号不同而不同。参考产品图纸确定具体尺寸。
用粘合剂把洞填满
使用填缝枪,将粘合剂从自下而上分配,直到孔为单位满。
为了防止气泡形成,要缓慢地抽出混合喷嘴。
插入螺纹杆
将螺纹杆插入孔内,同时旋转,以确保积极的附着力。
注:锚定系统在68华氏度下至少需要45分钟才能设置。在粘合剂完全固化之前不要搅动。
清洗管系柱表面
用布清洁任何残留物,灰尘或碎屑。
准备自行车系杆盖安装
将自行车护柱盖放在其保护性包装内,并放置在安装地点附近。
安装前,请拆除防护包装。
将自行车系柱盖放在管系柱和螺纹杆上
抬起自行车船柱盖并将其降低在管道系柱和螺纹杆上。螺纹杆的顶部应延伸超过均线的接收器孔。
确保螺纹杆是中心在自行车护柱盖的轴。
注意:金属自行车铺柱封面可以重力,以防止事故和伤害,确保适当的资源可用于将自行车盗窃覆盖物抬起或安装在其安装上。爱游戏首页

保护自行车盗用罩
将垫圈放在螺纹杆上
将垫圈放在螺纹杆上,使其搁置在管道系柱的轴上。
将1″螺母应用于螺纹杆,并使用扳手拧紧,直到系柱安全。
注意:请务必检查自行车系柱盖臂之前的方向,然后确保自行车盗用罩。

保护自行车系柱盖帽
从其包装上拆下自行车护柱盖帽。
将盖子放在自行车系柱盖的轴顶部。
用三个固定螺钉将盖子固定并对准底座。等量收紧,以确保上限保持在中间。

将塑料插头放在固定螺钉上。
检查
检查安装
从一段距离检查视图。
确保自行车系盗管垂直,表面平坦。
检查自行车系柱是否有表面损坏的迹象
磨损处应尽快覆盖,防止生锈,确保自行车系柱的正确使用寿命。如需损坏维修或其他服务,请联系爱游戏ayx热门直播Reliance Foundry的销售部门。
维护与保养
爱游戏ayx热门直播信实铸造以最高的设计标准制造产品,以确保其耐久性。爱游戏ayx热门直播信实铸造厂的自行车护柱的完成与持久粉末涂料。在大多数北美环境中,常规检查和清洁将确保自行车盗窃案保留了他们的美学吸引力。适当的护理和维护需要维护完成并确保完整的使用寿命。

