自行车系柱可以安装到现有的混凝土中,使用易于使用的粘合剂锚定系统。爱游戏ayx热门直播Reliance Foundry使用一种类似环氧的粘合剂来固定自行车系柱的螺纹杆。
自行车护柱有安全的自行车锁臂,可靠的自行车存储和装饰美学增强周围的景观。请注意,使用这种安装方法,自行车系柱提供很少的抗冲击。
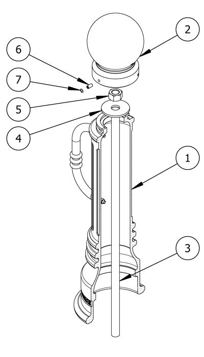
零件清单
| # | 部分 | 数量 |
|---|---|---|
| 1 | 自行车织物与自行车徽章 | 1 |
| 2 | 自行车铺柱盖帽 | 1 |
| 3. | 螺纹栏1“ | 1 |
| 4 | 洗衣机1” | 1 |
| 5 | 六角螺母1“ | 1 |
| 6 | 六角套筒固定螺钉 | 3. |
| 6 | 塑料插头 | 3. |
安装设备
| 1-1/8″砌体钻头 | 粉笔 |
| 1 - 1/2“扳手 | 填缝枪 |
| 3/16“六角扳手 | 水平 |
| 卷尺 | 胶锚定系统 |
| 锤钻或旋转锤 | |
笔记
- 为了保护饰面,将自行车盗用放在原装包装中,直到安装的确切时刻。
- 小心处理,避免划伤或损坏自行车系柱表面,因为磨损会导致生锈。
- 一旦划伤,就无法修复自行车系柱,而不重新完成整个表面。

安装前
检查危险
钻孔前始终检查危险,如水管,气体管线和地下布线。
清洁表面
污垢和碎片可以影响自行车系盗的视线和破坏放置。
在自行车系柱安装之前,用扫帚或高压清洗机清洁混凝土表面。
研究网站计划
网站计划通常由项目的架构师创建。
请参阅站点计划找到并标记每辆自行车系盗板的精确中心点。
为了保证安装的安全性,请尽量减小安装半径*每一个标记周围都是实心混凝土。
钻洞
创建飞行员
在每个标记的中心攻下导草皮孔。
这将防止锤子钻头或旋转锤漂移,同时钻孔。
将冲击钻(或旋转锤)上的深度控制设置为4″
如果无法控制深度,请在砌体钻头上标记4″。
钻的洞
钻孔1-1 / 8“直径和4”深度。
钻孔高速,如果可用,请使用锤子功能。
经常检查砖石钻头,以确保其保持无碎屑。
安全的带缆桩
清理和清洁孔
用真空吸尘器清除洞内所有的碎片和/或积水。
用粘合剂填充孔
使用填缝枪,分配粘合剂,直到孔满四分之一。
为防止空气口袋成型,缓慢取出混合喷嘴。
放置自行车系柱基地附近的drop-in混凝土插入
将自行车系盗板保持在防护包装中。小心地将自行车系柱底座放在安装位置附近。
准备安装时,请卸下保护性包装。
将自行车系盗放在钻孔的顶部
设置自行车桩基地直立和机动它的中心直线与钻孔。
插入螺纹杆
降低螺纹杆通过自行车系柱的轴。
在转动正面粘附时将整个4“插入螺纹杆进入孔中。杆应位于自行车铺柱的轴上。
注意:锚定系统需要最少45分钟以68˚F设置。请勿打扰扭矩或装载锚,直到粘合剂完全固化。
将垫圈设置在螺纹杆上
将垫圈放在螺纹杆上,使其停留在自行车系柱的轴的顶部。
应用1″螺母螺纹杆,并使用扳手拧紧,直到自行车系柱是安全的。
注意:在固定自行车系柱之前,一定要检查自行车系柱臂的方向。
固定自行车系柱的帽
从其包装上拆下自行车系柱帽。
将盖子放在自行车系船柱的轴顶部。
用三个固定螺钉固定并对齐帽到自行车系柱基地。等量收紧,以确保上限保持在中间。
将塑料插头(A)放在紧定螺钉的头部上。

检查
检查安装
从远处观察平面。
确保自行车系柱垂直于表面,表面是平坦的。
检查自行车系柱是否有表面损坏的迹象
应尽快覆盖擦伤,以防止生锈并确保自行车系股权的适当生活。有关损坏维修或其他服务需求,请联系爱游戏ayx热门直播信实铸造厂的销售部。
护理和维护
爱游戏ayx热门直播Reliance Foundry将其产品生产给最高的设计标准,以确保其耐用性。爱游戏ayx热门直播Reliance Foundry的自行车系杆状物持续持久粉末涂料。在大多数北美环境中,常规检查和清洁将确保自行车护柱保持其审美吸引力。适当的护理和保养要求保持表面光洁度,确保完整的使用寿命。
*粘合剂锚制造商如www.powers.com建议最小半径为5″。↩

