爱游戏ayx热门直播信赖铸造的自行车桩提供安全的自行车存储,同时最大限度地减少不适当的自行车停放造成的障碍。自行车系柱可以安全地安装在混合或非混凝土表面使用锚铸件在混凝土形式。需要注意的是,使用这种安装方法,自行车系柱将提供有限的抗冲击能力。
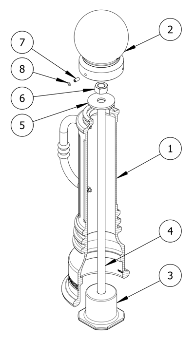
零件清单
| # | 部分 | QTY. |
|---|---|---|
| 1 | 自行车支柱基地与自行车手臂 | 1 |
| 2 | 自行车带缆桩帽 | 1 |
| 3. | 锚固铸造1“(包括插头盖顶孔) | 1 |
| 4. | 螺纹杆1” | 1 |
| 5. | 洗衣机1” | 1 |
| 6. | 六角螺母1” | 1 |
| 7. | 内六角紧定螺钉 | 3. |
| 8. | 塑料塞子 | 3. |
安装设备
| 3/16“六角钥匙 | 1-1 / 2“扳手 |
| 土夯 | 管具体形式 |
| 粉笔/标记 | 布基胶带 |
| 卷尺 | |
请注意
- 为了保护饰面,将珠柱保持在原始包装中,直到安装的确切时刻。
- 小心处理,避免划伤或损坏系柱表面,因为磨损会导致生锈。
- 一旦划伤,均不能修复均匀的形式,而无需重新完成整个表面。

安装前
研究场地平面图
场地平面图通常由项目的建筑师创建。
请参阅网站计划以找到每辆自行车系股票的精确中心点。
确保计划与该网站一致,并熟悉自行车系盗的预期安排。
检查危险
在挖掘前一定要检查水管、煤气管道和地下线路等危险因素。
为混凝土准备场地
请咨询您当地的建筑码部门,以确定您所在地区霜线以下的推荐挖掘深度。
新的混凝土基础必须达到这一推荐的挖掘深度。
注意:如果建议的挖掘深度小于12英寸的表面电平,请挖到最小深度为12“。建议以创造稳定性。
切管混凝土形式
管道必须具有等于或大于自行车铺柱底座的直径。
将管道混凝土形式切割成正确的长度,使其在置于制备的部位时,其顶部将与成品表面齐平。
注意:在当前表面的顶部留一个余量是至关重要的,因为美化材料还必须在以后添加。咨询您的园林设计师,以确定多少零用钱是必需的。
挖掘现场
确保孔的直径足够大,以容纳油管。
把一个螺旋钻对准安装标记,然后钻一个孔,按照要求的尺寸。
为混凝土准备管状混凝土模板
从管子顶部向下测量4″,并在里面做标记。这标志着锚铸的嵌入深度。
将混凝土模板放置在指定位置。确保管形中心与中心点标记对齐。
使用污垢或砾石填充混凝土形式和孔之间的任何空隙。
倒混凝土
搅拌并浇筑混凝土
确保使用适当比例的水和混凝土混合。混凝土应该具有与可塑粘土相似的纹理。
将混凝土倒入混凝土形式,直到它到达管道内部的先前标记的嵌入标记。
小心均匀地倾注混凝土,并避免扰乱混凝土形式。
将锚固铸件放在混凝土形式中
用管带盖住锚固铸件的底部孔,以防止碎屑进入。顶孔应该已经用插头(a)覆盖。
将锚固铸造成混凝土形式。锚固铸件的顶部应与混凝土形式的顶部和预期的成品表面齐平。
继续浇筑混凝土,直到混凝土形式填满顶部。
让混凝土固化
在开始新混凝土表面的施工项目之前,应给予混凝土至少2-3天的养护时间。
注意:环境中的水分和凉爽的温度可以显着减慢过程。
应用美化材料
一旦混凝土完全固化,围绕混凝土形式施加污垢,沙子和砖等园林绿化材料。
固定好自行车系柱
将自行车系柱放置在锚铸件附近
将自行车系盗板保持在防护包装中。确保混凝土表面完全固化后,小心地将自行车船放在锚固铸件旁边。
准备安装时,请卸下自行车系柱的保护包装。
从锚铸件的顶部孔拆下插头(A)。
将自行车盗窃放在锚固铸件上
设置自行车系柱底座直立和机动,使中心与锚铸造的螺纹孔对齐。
降低螺纹杆并拧紧
通过自行车系杆底座将螺纹杆降低。
继续将杆穿入锚铸件中。
紧缩*手工螺纹杆直到它在锚固铸造中是安全的。
固定好自行车系柱
将垫圈放在螺纹杆上,使其搁置在自行车船柱的轴上。
将1“螺母涂在螺纹杆上并使用扳手拧紧,直到自行车盗窃是安全的。
注意:务必检查自行车盗窃武器的方向,然后确保自行车盗窃。
固定自行车系柱帽
从包装中取出自行车系柱。
将帽放在自行车系柱的轴的顶部。
用三个固定螺钉固定并对齐帽到自行车系柱基地。等量收紧,以确保上限保持在中间。
将塑料插头(B)放在固定螺钉上。
检查
检查安装
从一段距离检查视图。
确保自行车系盗是铅笔锤。
检查自行车系柱是否有表面损坏的迹象
磨损处应尽快覆盖,防止生锈,确保自行车系柱的正确使用寿命。如需损坏维修或其他服务,请联系爱游戏ayx热门直播Reliance Foundry的销售部门。
维护与保养
爱游戏ayx热门直播信实铸造以最高的设计标准制造产品,以确保其耐久性。爱游戏ayx热门直播信实铸造厂的自行车护柱的完成与持久粉末涂料。在大多数北美环境中,常规检查和清洁将确保自行车盗窃案保留了他们的美学吸引力。适当的护理和保养需要维护完成并确保完整的使用寿命。
*推荐的紧张是直到螺纹杆在锚固铸造中达到约1“的深度。↩

