自行车系船柱提供装饰呼吁,具有安全自行车储存的优势。它们增强了周围环境和补充基础设施,同时最大限度地减少了自行车停放不当导致的杂波。
自行车系杆状可以安装在现有的混凝土表面上,使用下拉刀片和螺纹杆。掉落插入物只能安装在完全固化的混凝土中,该混凝土至少为4英寸厚。*此安装指南中的所有测量均采用裸露的混凝土表面。值得注意的是,通过这种安装方法,自行车系柱将提供很小的抗冲击性。
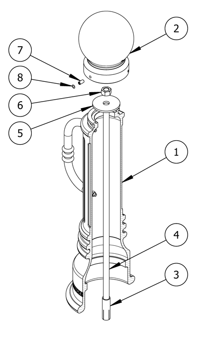
零件清单
| # | 部分 | QTY. |
|---|---|---|
| 1 | 铺柱底有自行车武器 | 1 |
| 2 | 自行车铺柱盖帽 | 1 |
| 3. | 3/4“掉落混凝土插入 | 1 |
| 4. | 3/4“螺纹杆 | 1 |
| 5. | 3/4“垫圈 | 1 |
| 6. | 3/4“六角螺母 | 1 |
| 7. | 六角套筒固定螺钉 | 3. |
| 8. | 塑料塞子 | 3. |
安装设备
| 1“砌体钻头 | 粉笔 |
| 锤子 | 1-1 / 8“套筒扳手 |
| 3/16“六角钥匙 | 等级 |
| 扫帚/压力洗衣机 | 卷尺 |
| 3/4“插入设置工具(或等效) | |
| 锤子钻或旋转锤 | |
| 真空 | |
笔记
- 为了保护饰面,将自行车盗用放在原装包装中,直到安装的确切时刻。
- 注意避免刮伤或损坏自行车系母珠表面,因为磨料会导致生锈。
- 一旦划伤,就无法修复自行车系柱,而不重新完成整个表面。

安装前
检查危险
在挖掘之前,请务必检查诸如水管,燃气管路,气管和地下布线等危险。
清洁表面
污垢和碎片可以影响自行车系杆状的视线和破坏安静。
使用扫帚或压力洗衣机在自行车系杆安装之前清洁混凝土表面。
研究网站计划
网站计划通常由项目的架构师创建。
请参阅站点计划找到并标记每辆自行车系盗板的精确中心点。
为安全安装,请确保存在最小半径**每个标记周围的固体混凝土。
钻孔
创建飞行员
点击每个标记的中心的导频孔。
这将防止锤子钻头或旋转锤漂移,同时钻孔。
将锤子钻头(或旋转锤)的深度控制设置为3-1 / 8“
如果不可用深度控制,则砖石上的标记为3-1 / 8“。
钻孔
钻一个具有1“直径和3-1 / 8”深度的孔。
钻孔高速,如果可用,请使用锤子功能。
经常检查砌体比特,以确保它保持不含碎片。
保护自行车盗窃案
清除洞
用真空清除所有碎屑和/或脱水的孔。
将掉落插入孔进入孔中
随着开槽端朝下,将下降插入(a)驱动到下降,直到其顶部坐着与混凝土表面齐平。
确保顶部是完美的水平。
设置删除插入
将设定工具(b)插入螺纹孔中,然后锤击。
如果不可用适当的设置工具,则可以使用等效的平端打孔。
这将导致内部扩展插头将下载插件设置到位。
将自行车系杆放在刀片附近
将自行车系盗板保持在防护包装中。小心地将自行车系柱底座放在安装位置附近。
准备安装时,请卸下保护性包装。
将自行车盗窃放在刀片上
将自行车系杆底座直立并机动,以便中心与下落插入中的螺纹孔排列。
降低螺纹杆并拧紧
通过自行车系杆底座将螺纹杆降低。
继续将杆拧入液滴插入物中。
紧缩***手工螺纹杆直到它在掉落插入件中的安全。
保护自行车盗窃案
将垫圈放在螺纹杆上,使其搁置在自行车系柱的顶部。
将3/4“六角螺母应用于螺纹杆并拧紧,直到自行车系柱是安全的。
注意:务必检查自行车盗窃武器的方向,然后确保自行车盗窃。
保护自行车铺柱帽
从包装中取出自行车系柱。
将盖子放在自行车系船柱的轴顶部。
用三个套装螺钉固定并将盖子与自行车系柱底座对齐。拧紧等量相等,以确保盖章保持居中。
保护均铺柱帽
从包装中取出铺柱帽。
将盖子放在系柱的轴顶部。
用三个固定螺钉固定并将盖子对齐柱子底座。拧紧等量相等,以确保盖章保持居中。
将塑料插头(C)放在固定螺钉上。
检查
检查安装
从一段距离检查视图。
确保自行车系盗管垂直,表面平坦。
检查盗用尺寸是否有表面损坏的迹象
应尽快覆盖擦伤,以防止生锈并确保自行车系股权的适当生活。有关损坏维修或其他服务需求,请联系爱游戏ayx热门直播Reliance Foundry的销售部门。
护理和维护
爱游戏ayx热门直播Reliance Foundry将其产品生产给最高的设计标准,以确保其耐用性。爱游戏ayx热门直播Reliance Foundry的自行车系杆状物持续持久粉末涂料。在大多数北美环境中,常规检查和清洁将确保自行车盗窃案保留了他们的美学吸引力。适当的护理和维护需要维护完成并确保完整的使用寿命。
*混凝土插入制造商如www.ucanfast.com建议至少6“的具体深度。↩
**混凝土插入制造商如www.ucanfast.com推荐7-1 / 2“的锚点,最小边缘距离为100%性能。↩
***制造商建议将螺纹杆拧紧到混凝土插入件中大约1“的深度。↩

