爱游戏ayx热门直播Reliance Foundry携带一系列自行车系柱,可以设置为混凝土表面的基板。在其预期位置定位自行车系柱并浇注混凝土后,自行车系柱将成为固定装置。它提供安全的自行车储存,而当代设计围绕基础设施的补充。值得注意的是,通过这种安装方法,自行车系柱将提供有限的抗冲击性。
零件清单
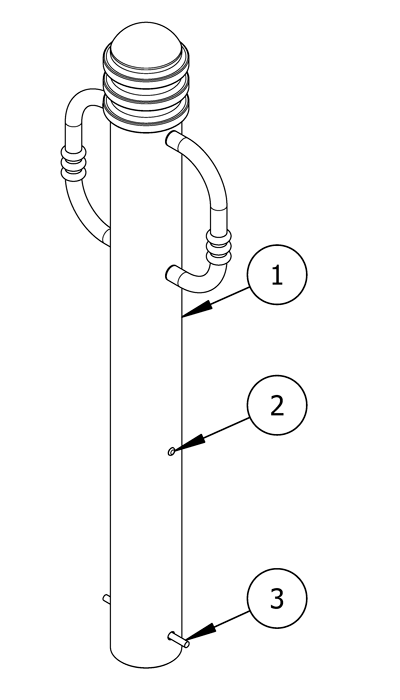
| # | 部分 | QTY. |
|---|---|---|
| 1 | 自行车系船柱,嵌入式安装 | 1 |
| 2 | 塑料塞子 | 1 |
| 3. | 钢钢筋 | 1 |
安装设备
| 螺旋钻 | 粉笔/标记 |
| 污垢篡改 | 等级 |
| 卷尺 | |
笔记
- 为了保护饰面,将自行车盗用放在原装包装中,直到安装的确切时刻。
- 注意避免刮伤或损坏自行车系母珠表面,因为磨料会导致生锈。
- 一旦划伤,就无法修复自行车系柱,而不重新完成整个表面。

安装前
研究网站计划
网站计划通常由项目的架构师创建。
请参阅站点计划找到并标记每辆自行车系盗板的精确中心点。
确保计划与该网站一致,并熟悉自行车系盗的预期安排。
检查危险
在挖掘之前,请务必检查诸如水管,燃气管路,气管和地下布线等危险。
准备混凝土的网站
请咨询您当地的建筑码部门以确定您所在地区的霜线。
在霜线下面挖掘;新的混凝土脚必须超越这种霜线。
注意:如果霜线小于12“表面级别,请挖到最小深度为12”。建议以创造稳定性。
孔的直径应延伸至至少10“。
将安装标记上的螺旋钻,并钻孔到所需深度和直径。
确保正确形成区域以产生将持有湿混凝土的周边。
使用污垢篡改将土壤压实在预期表面以下。
准备自行车系盗,以进行指定位置
将自行车系盗板保持在防护包装中。
小心地将自行车系盗放在安装位置附近。
倒混凝土
混凝土混合
确保使用水和混凝土混合物的适当比例。
混凝土应具有与可模粘土相似的质地。
将自行车系盗放在指定的位置
准备安装时,请卸下保护性包装。
自动检查自行车系盗,确保塑料塞(A)完好无损。
将钢钢筋(b)插入自行车系盗板的底部孔中。这将在混凝土中锚定自行车盗窃。
从自行车系船板顶部测量36英寸,带有遮蔽胶带。这表示表面等级上方的高度。
将自行车系盗板降低到指定位置,直到它到达遮蔽胶带。
倒混凝土
小心均匀地倒入混凝土,确保表面是水平。
保持自行车系盗板侧面的水平,并确保它保持铅铅。
注意:一定要检查自行车系盗臂的方向,并立即进行必要的调整。混凝土固化后,没有办法旋转自行车盗窃。
检查
检查安装
从一段距离检查视图。
确保自行车系盗管垂直,表面平坦。
检查自行车盗窃案是否有任何表面损坏的迹象
应尽快覆盖擦伤,以防止生锈并确保自行车系股权的适当生活。有关损坏维修或其他服务需求,请联系爱游戏ayx热门直播Reliance Foundry的销售部门。
护理和维护
爱游戏ayx热门直播Reliance Foundry将其产品生产给最高的设计标准,以确保其耐用性。爱游戏ayx热门直播Reliance Foundry的自行车系杆状物持续持久粉末涂料。在大多数北美环境中,常规检查和清洁将确保自行车盗窃案保留了他们的美学吸引力。适当的护理和维护需要维护完成并确保完整的使用寿命。

