爱游戏ayx热门直播Reliance Foundry的自行车系柱系列可以使用锚固铸件的可拆卸安装件可拆卸。使用该安装系统,可以通过简单地松开挂锁并取下穿过自行车系柱底部的中心的销钉来取出自行车系柱。
这种安装方法允许自行车护柱提供访问控制和可靠的自行车存储。需要注意的是,使用这种安装方法,自行车系柱提供有限的抗冲击能力。
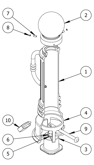
零件清单
| # | 部分 | 数量 |
|---|---|---|
| 1 | 可拆卸的自行车系柱基地 | 1 |
| 2 | 自行车铺柱盖帽 | 1 |
| 3. | 锚铸件1”(包括塞盖顶孔) | 1 |
| 4 | 可移动的山 | 1 |
| 5 | 垫圈1“ | 1 |
| 6 | 六角螺栓1“ | 1 |
| 7 | 六角套筒固定螺钉 | 3. |
| 8 | 塑料插头 | 3. |
| 9 | 锁销 | 1 |
| 10 | 挂锁(可选) | 1 |
安装设备
| 螺旋钻 | 污垢篡改 |
| 等级 | 3/16“六角扳手 |
| 粉笔/标记 | 卷尺 |
| 1 - 1/2“扳手 | |
笔记
- 为了保护饰面,将自行车盗用放在原装包装中,直到安装的确切时刻。
- 小心处理,避免划伤或损坏自行车系柱表面,因为磨损会导致生锈。
- 一旦划伤,就无法修复自行车系柱,而不重新完成整个表面。

安装前
研究网站计划
网站计划通常由项目的架构师创建。
建筑师将在平面图上标出每个自行车系柱的预期位置。
确保计划与场地一致,熟悉自行车系柱的计划安排。
检查危险
在挖掘之前,请务必检查诸如水管,燃气管路,气管和地下布线等危险。
为混凝土准备场地
请咨询您当地的建筑码部门,以确定您所在地区霜线以下的推荐挖掘深度。选择此项或12“,以较大者为准。这是你的挖掘深度。
注:孔的直径不同的自行车系柱模型。参考产品图纸确定具体尺寸。
将螺旋钻对准安装标记的中心,在需要的深度和直径上打一个孔。
确保该区域形成适当的边界,以保持湿混凝土。
使用污垢篡改*将土壤压实在预期表面下方。
为指定位置准备锚套
如果周围区域有灰尘,用胶带盖住锚件的底孔,防止碎屑进入螺纹区域。顶部的孔应该已经用插头(A)覆盖。
将锚浇置于指定位置,并确保浇筑顶部与混凝土标号成品表面平齐(锚浇高4″)。
锚固铸件的顶部必须是水平。
把混凝土
混合和倒混凝土
确保使用适当比例的水和混凝土混合物,混凝土应该具有类似于可塑粘土的纹理。
浇筑均匀,保证表面平整,避免破坏锚固。
让混凝土固化
在开始在新的混凝土表面上的建筑项目之前,应至少为2-3天治疗混凝土。
注意:环境中的水分和凉爽的温度会显着减慢过程
安全的带缆桩
将可拆卸安装在锚固铸件的顶部
从锚铸件的顶部孔拆下插头(A)。
将支架放置在锚铸件的顶部,使中心孔对齐。将垫圈放在中心孔的上方。插入1″螺栓,用扳手拧紧,直到安装紧固。
注意:在固定自行车系柱之前,一定要检查自行车系柱臂的方向。
将自行车系盗板放在可拆卸的安装上
把自行车护柱放在它的保护包装里。当准备安装时,拆卸自行车系柱的保护包装。
将自行车系杆底座直立设置并放在安装上。
插入锁定销
将锁销插入自行车系柱底座的孔中。按顺时针方向旋转自行车系柱以确保到位。系挂锁。
保护自行车铺柱帽
从包装中取出自行车系柱。
将盖子放在自行车系船柱的轴顶部。
用三个固定螺钉固定并对齐帽到自行车系柱基地。等量收紧,以确保上限保持在中间。
将塑料插头(B)放在固定螺钉上。
注意:在将来更换或移除自行车系盗时,自行车铺柱盖可以保持完整。
检查
检查安装
从远处观察平面。
确保自行车系柱垂直于表面,表面是平坦的。
检查自行车盗窃案是否有任何表面损坏的迹象
应尽快覆盖擦伤,以防止生锈并确保自行车系股权的适当生活。有关损坏维修或其他服务需求,请联系爱游戏ayx热门直播信实铸造厂的销售部。
护理和维护
爱游戏ayx热门直播Reliance Foundry将其产品生产给最高的设计标准,以确保其耐用性。爱游戏ayx热门直播Reliance Foundry的自行车系杆状物持续持久粉末涂料。在大多数北美环境中,常规检查和清洁将确保自行车护柱保持其审美吸引力。适当的护理和保养要求保持表面光洁度,确保完整的使用寿命。
如果在不受干扰的土壤上工作,不需要污垢夯实。↩

