爱游戏ayx热门直播信实铸造厂的可拆卸自行车桩提供自行车存储,同时允许在不断变化的街景中允许或限制访问。这种安装方法使用挂锁链固定自行车系柱。当自行车护柱被移除时,链条可以存储在接收器内,并用保护性盖隐藏起来,以防止绊倒或阻碍。
可拆卸的自行车护柱作为视觉交通威慑,可以限制或限制进入特定区域,同时提供安全的自行车存储。需要注意的是,使用这种安装方法,自行车系柱提供有限的抗冲击能力。
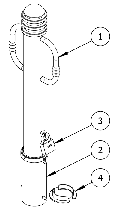
零件清单
| # | 部分 | 数量 |
|---|---|---|
| 1 | 可拆卸的自行车带缆桩 | 1 |
| 2 | 接收机 | 1 |
| 3. | 挂锁(可选) | 1 |
| 4 | 接收机覆盖(可选) | 1 |
安装设备
| 钻 | 粉笔/标记 |
| 土夯 | 水平 |
| 卷尺 | |
请注意
- 为了保护完成,保持自行车系柱在原来的包装,直到准确的时刻安装。
- 小心处理,避免划伤或损坏自行车系柱表面,因为磨损会导致生锈。
- 一旦划伤,自行车护柱不能修复到原来的形式,除非重新整理整个表面。

安装前
研究场地平面图
场地平面图通常由项目的建筑师创建。
参考工地平面图确定每个自行车系柱的精确中心点。
确保计划与场地一致,熟悉自行车系柱的计划安排。
检查危险
在挖掘前一定要检查水管、煤气管道和地下线路等危险因素。
为混凝土准备场地
请咨询您当地的建筑规范部门,确定您所在地区霜冻线以下的推荐挖掘深度。选择这个或12″,哪个比较大。然后添加最少6″以保持排水岩石。*这就是你挖掘的深度。
孔的直径应至少延伸10″。
注:如果在霜冻线以下的建议挖掘深度大于接收器的深度,请确保通过混凝土和连接下面的排水岩层的管道提供足够的排水。
挖掘现场
把一个螺旋钻对准安装标记,然后钻一个孔,按照要求的尺寸。
确保该区域形成适当的边界,以保持湿混凝土。
使用泥土捣固器* *压实在预定表面下的土壤。
将自行车系柱和可拆卸支架准备到指定位置
把自行车护柱放在它的保护包装里。
请记住,接收器的安装将使接收器与完成的等级和一个轻微的护堤建议。
加入沥干石
将排水石添加到安装现场。
把混凝土
把混凝土
确保使用适当比例的水和混凝土混合。
混凝土应该具有与可塑粘土相似的纹理。
把接收器放在指定的位置
把接收器的链条放在接收器里面。把接收器放低到指定位置,使其顶部高于地面坡度。建议这样做是为了用混凝土创建一个轻微的护堤。
注意:如有必要,暂时将自行车系柱(带包装)插入接收器,并使用水平仪确保其垂直。
让混凝土固化
在开始新混凝土表面的施工项目之前,应给予混凝土至少2-3天的养护时间。
注意:环境中的水分和凉爽的温度会显著减缓这一过程。
安装自行车系柱
准备好自行车系柱
确保混凝土已经固化。
把自行车护柱放在它的保护包装里。小心地将自行车系柱设置在安装地点附近。
在准备安装时,取下保护包装,并将其放入接收器中。
固定好自行车系柱
将接收器的链条提升到螺柱上,用挂锁将两者连接在一起。系挂锁。
注意:链式接收器有一个可选的盖子,以减少跳闸危险。如果在此安装中使用了接收器盖,请将其连同链条一起提起,并用挂锁固定。
检查
检查安装
从远处观察平面。
确保自行车系柱垂直于表面,表面是平坦的。
检查自行车系柱是否有表面损坏的迹象
磨损处应尽快覆盖,防止生锈,确保自行车系柱的正确使用寿命。如需损坏维修或其他服务,请联系爱游戏ayx热门直播信实铸造厂的销售部。
维护与保养
爱游戏ayx热门直播信实铸造以最高的设计标准制造产品,以确保其耐久性。爱游戏ayx热门直播信实铸造厂的自行车护柱的完成与持久粉末涂料。在大多数北美环境中,常规检查和清洁将确保自行车护柱保持其审美吸引力。适当的护理和保养要求保持表面光洁度,确保完整的使用寿命。
*排水岩石的推荐深度至少为6″。深度还取决于当地土壤条件、天气条件和工程要求。↩
**如果在未扰动的土壤上工作,不需要夯实泥土。↩

