爱游戏ayx热门直播Reliance Foundry的自行车系柱可以使用掉落混凝土插入件可用可拆卸安装件。这种安装系统允许通过简单地解除挂锁并拆下穿过自行车系柱底部中心的销钉来取出自行车系钉。
可拆卸自行车系均配有可靠的自行车储存的便利设施。值得注意的是,通过这种安装方法,自行车系柱提供有限的抗冲击性。
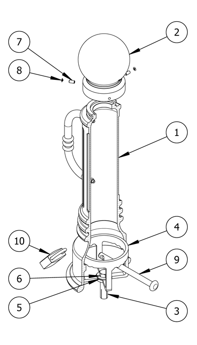
零件清单
| # | 部分 | QTY. |
|---|---|---|
| 1 | 可拆卸自行车系杆底座 | 1 |
| 2 | 自行车铺柱盖帽 | 1 |
| 3. | 下拉混凝土插入3/4“ | 1 |
| 4. | 可拆卸1“ | 1 |
| 5. | 洗衣机3/4“ | 1 |
| 6. | 六角螺栓3/4“ | 1 |
| 7. | 六角套筒固定螺钉 | 3. |
| 8. | 塑料塞子 | 3. |
| 9. | 锁销 | 1 |
| 10. | 挂锁(可选) | 1 |
安装设备
| 螺旋钻 | 污垢篡改 |
| 等级 | 3/16“六角钥匙 |
| 粉笔/标记 | 卷尺 |
| 1-1 / 2“扳手 | |
笔记
- 为了保护饰面,将自行车盗用放在原装包装中,直到安装的确切时刻。
- 注意避免刮伤或损坏自行车系母珠表面,因为磨料会导致生锈。
- 一旦划伤,就无法修复自行车系柱,而不重新完成整个表面。

安装前
检查危险
在挖掘之前,请务必检查诸如水管,燃气管路,气管和地下布线等危险。
清洁表面
污垢和碎片可以影响自行车系盗的视线和破坏放置。
使用扫帚或压力洗衣机在自行车系杆安装之前清洁混凝土表面。
研究网站计划
网站计划通常由项目的架构师创建。
请参阅站点计划找到并标记每辆自行车系盗板的精确中心点。
为安全安装,请确保存在最小半径*每个标记周围的固体混凝土。
钻孔
创建飞行员
点击每个标记的中心的导频孔。
这将防止锤子钻头或旋转锤漂移,同时钻孔。
将锤子钻头(或旋转锤)的深度控制设置为3-1 / 8“
如果不可用深度控制,则砖石上的标记为3-1 / 8“。
钻孔
钻一个具有1“直径和3-1 / 8”深度的孔。
钻孔高速,如果可用,请使用锤子功能。
经常检查砌体比特,以确保它保持不含碎片。
保护盗窃
清除洞
用真空清除所有碎屑和/或脱水的孔。
点击掉线插入孔并设定混凝土插入件
随着开槽端朝下,将下降插入(a)驱动到下降,直到其顶部坐着与混凝土表面齐平。确保顶部是完美的水平。
将设定工具(b)插入螺纹孔中,然后锤击。
如果不可用适当的设置工具,则可以使用等效的平端打孔。
这将导致内部扩展插头将混凝土插入件设置到位。
固定可拆卸安装
将安装安装在混凝土插入的顶部,使得中心孔系列。将洗衣机放在中心孔的顶部。插入3/4“螺栓,然后使用扳手拧紧,直到安装座是安全的。
注意:务必检查自行车盗窃武器的方向,然后确保自行车盗窃。
将自行车系盗板放在可拆卸的安装上
将自行车系盗板保持在防护包装中。准备安装时,请卸下自行车系柱的保护包装。
将自行车系杆底座直立设置并放在安装上。确保自行车系柱底座以安装为中心。
插入锁定销
将锁销插入自行车铺柱底座的孔中。以顺时针动作扭转自行车船只以固定到位。系好挂锁。
保护自行车铺柱帽
从包装中取出自行车系柱。
将盖子放在自行车系船柱的轴顶部。
用三个套装螺钉固定并将盖子与自行车系柱底座对齐。拧紧等量相等,以确保盖章保持居中。
将塑料插头(C)放在固定螺钉上。
注意:在将来更换或移除自行车系盗时,自行车铺柱盖可以保持完整。
检查
检查安装
从一段距离检查视图。
确保自行车系盗管垂直,表面平坦。
检查自行车盗窃案是否有任何表面损坏的迹象
应尽快覆盖擦伤,以防止生锈并确保自行车系股权的适当生活。有关损坏维修或其他服务需求,请联系爱游戏ayx热门直播Reliance Foundry的销售部门。
护理和维护
爱游戏ayx热门直播Reliance Foundry将其产品生产给最高的设计标准,以确保其耐用性。爱游戏ayx热门直播Reliance Foundry的自行车系杆状物持续持久粉末涂料。在大多数北美环境中,常规检查和清洁将确保自行车盗窃案保留了他们的美学吸引力。适当的护理和维护需要维护完成并确保完整的使用寿命。
*混凝土插入制造商如www.ucanfast.com推荐7-1 / 2“的锚点,最小边缘距离为100%性能。↩

