在提高审美外观的同时保护您的管道系柱。金属装饰系柱封面加入时尚,现代的设计元素到预安装的管道系柱。通过这种安装方法,粘合剂锚固系统如AC100 +金粘合剂锚固系统*用于将护柱盖安装到管道护柱内的现有混凝土中。
重要的是要注意,Reliance Foundry的铺柱封面爱游戏ayx热门直播主要是装饰性的。向现有管道系柱加入铺柱盖不会影响抗冲击性。抗冲击程度与原始安装直接相关。
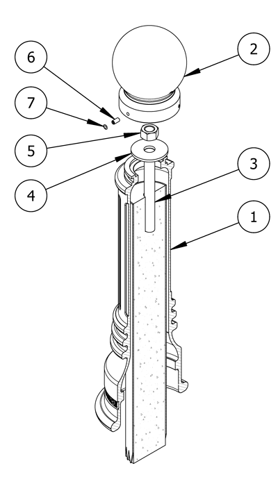
零件清单
| # | 部分 | QTY. |
|---|---|---|
| 1 | 装饰带缆桩封面 | 1 |
| 2 | 装饰铺柱盖帽 | 1 |
| 3. | 螺纹杆1” | 1 |
| 4. | 洗衣机1” | 1 |
| 5. | 六角螺母1” | 1 |
| 6. | 内六角紧定螺钉 | 3. |
| 7. | 塑料塞子 | 3. |
安装设备
| 3/16“六角钥匙 | 1-1 / 2“扳手 |
| 1-1/8″砌体钻头 | 锤钻 |
| 水平 | 卷尺 |
| 压胶枪 | AC100 +金粘合剂锚固系统 |
请注意
- 为了保护表面,保持护柱盖在原来的包装中,直到安装的确切时刻。
- 小心处理,避免划伤或损坏护柱表面,因为磨损会导致生锈。

安装前
检查管道系柱
检查预先安装的管道带缆桩造成损坏的迹象。任何生锈都应被移除,应尽快覆盖擦伤。如果损坏超出修复,可能需要安装新的管道系柱。
垂直靠在管道盗工界面上垂直保持水平,并确保它是铅铅。
注意:管柱的任何损坏或倾斜都会影响系柱盖板的性能。
清洗并干燥管系柱
刷或擦拭管道系柱的表面。碎片可以抵消测量和系柱盖的放置。
标出护柱盖的位置
用粉笔在管柱内的混凝土上标出中心点。
钻孔
创建定位孔
点击孔标记中心的先导孔。
这将防止旋转锤在钻孔时漂移。
将冲击钻(或旋转锤)上的深度控制设置为4″
如果不可用深度控制,则在砌体位上标记4“。
钻孔
钻一个具有1-1 / 8“直径和4”深度的孔。
确保钻头水平。在高速上钻孔,如果可用,使用锤击功能。
经常检查砌体比特,以确保它保持不含碎片。
清除洞
清除使用真空的所有碎片的孔。用刷子去除任何剩余的松散颗粒。
准备螺纹杆
检查螺纹杆的长度是否正确,将螺纹杆暂时插入钻孔内。
测量从表面等级到螺纹顶部的总距离。确保此总距离不超过产品图中的最大棒高度。完成后拆下螺纹杆。
注意:最大条形高度基于系柱覆盖模型而不同。请参阅产品图纸以确定特定测量。
安装护柱盖
有两种方法可以安装护柱盖和插入螺纹杆。选项1:插入螺纹杆后,护柱盖放置,或选项2:插入螺纹杆之前,护柱盖放置。
选项1(安装护柱盖后插入螺纹杆)
用粘合剂把洞填满
使用填缝枪,将粘合剂从自下而上分配,直到孔为单位满。
为了防止气泡形成,要缓慢地抽出混合喷嘴。
清洗管系柱表面
用布清洁任何残留物,灰尘或碎屑。
准备铺柱盖子进行安装
将珠柱盖保持在其保护包装中,并在安装地点附近放置。
安装前,请拆除防护包装。
将纺织罩放在管道盗别上
提起护柱盖,并将其降低到管道护柱上。
注意:金属系柱封面可重力,以防止事故和伤害,确保适当的资源可用于将盗用覆盖物抬到适当位置或安装在其安装上。爱游戏首页
插入螺纹杆
将螺纹杆插入孔内,同时旋转,以确保积极的附着力。
使用级别确保系柱盖板是铅笔,并进行任何必要的调整。
注:锚定系统在68华氏度下至少需要45分钟才能设置。在粘合剂完全固化之前不要搅动。
选项2(在放置护柱盖之前插入螺纹杆)
用粘合剂把洞填满
使用填缝枪,将粘合剂从自下而上分配,直到孔为单位满。
为了防止气泡形成,要缓慢地抽出混合喷嘴。
插入螺纹杆
将螺纹杆插入孔内,同时旋转,以确保积极的附着力。
注:锚定系统在68华氏度下至少需要45分钟才能设置。在粘合剂完全固化之前不要搅动。
清洗管系柱表面
用布清洁任何残留物,灰尘或碎屑。
准备铺柱盖子进行安装
将珠柱盖保持在其保护包装中,并在安装地点附近放置。
安装前,请拆除防护包装。
将珠柱盖板放在管道系柱和螺纹杆上
提起护柱盖,并将其降低到管道护柱和螺纹杆上。螺纹杆的顶部应延伸至系柱的接收孔。
确保螺纹杆位于护柱盖轴的中心。
注意:金属系柱封面可重力,以防止事故和伤害,确保适当的资源可用于将盗用覆盖物抬到适当位置或安装在其安装上。爱游戏首页
固定护柱盖
固定护柱盖
将垫圈放在螺纹杆上,使其搁置在管道系柱的轴上。
将1″螺母应用于螺纹杆,并使用扳手拧紧,直到系柱安全。
固定护柱盖帽
从其包装上拆下护柱盖盖。
将帽放在护柱盖的轴的顶部。
用三个固定螺钉将盖子固定并对准底座。等量收紧,以确保上限保持在中间。
将塑料插头放在固定螺钉上。
检查
检查安装
从一段距离检查视图。
确保系柱是铅笔锤。
检查盗用尺寸是否有表面损坏的迹象
有磨损的应尽快覆盖,防止锈蚀,确保系柱的正常使用寿命。如需损坏维修或其他服务,请联系爱游戏ayx热门直播Reliance Foundry的销售部门。
维护与保养
爱游戏ayx热门直播Reliance Foundry将其产品生产给最高的设计标准,以确保其耐用性。爱游戏ayx热门直播Reliance Foundry的铺张珠柱完成了长期持久粉末涂料。在大多数北美环境中,常规检查和清洁将确保护柱保持其审美吸引力。适当的护理和保养需要维护完成并确保完整的使用寿命。
*请参考胶粘剂厂家的说明书MSDS.(包括在运输中)使用前↩

