爱游戏ayx热门直播Reliance Foundry的新系列螺栓羽绒系柱易于安装,没有暴露的硬件。由316级不锈钢制成,这些系柱可以承受耐候和腐蚀。它们的光滑和精简外观减少了脚踏交通的地区的绊倒危险。值得注意的是,通过该安装方法,盗工将提供很少的抗冲击性。
零件清单
| # | 部分 | QTY. |
|---|---|---|
| 1 | 资产保护带缆桩 | 1 |
| 2 | 3/4“掉落混凝土插入 | 1 |
安装设备
| 扫帚/压力洗衣机 | 粉笔 |
| 等级 | 卷尺 |
| 真空 | 1″砖石钻头 |
| 1“插入设置工具(或等效) | 锤子 |
| 冲击扳手 | |
请注意
- 为了保护饰面,将珠柱保持在原始包装中,直到安装的确切时刻。
- 小心处理,避免划伤或损坏系柱表面,因为磨损会导致生锈。
- 一旦划伤,均不能修复均匀的形式,而无需重新完成整个表面。
- 特别注意保护尺寸在系柱的底部。

安装前
检查危险
在钻孔之前,一定要检查水管、煤气管道和地下线路等危险因素。
干净的表面
污垢和碎片可以影响梭子母屋的视线和破坏放置。
使用扫帚或高压洗衣机在系船柱安装之前清洁混凝土表面。
研究场地平面图
场地平面图通常由项目的建筑师创建。
请参阅站点计划找到并标记每个盗用盗窃的精确中心点。
为了安全安装,确保每个标记周围有一个最小的固体混凝土半径。
钻孔
创建飞行员
在每个标记的中心中敲击导洞。
这将防止锤子钻或旋转锤漂移,同时钻孔。
将冲击钻(或旋转锤)的深度控制设置为3-1/8″
如果无法控制深度,请在砌体钻头上标记3-1/8″。
钻孔
钻一个具有1“直径和3-1 / 8”深度的孔。
在高速上钻孔,如果可用,使用锤击功能。
经常检查砌体比特,以确保它保持无碎片。
保护锚点
清除洞
用真空清除所有碎屑和/或脱水的孔。
用刷子去除任何剩余的松散颗粒。
将插入式插头插入孔中
随着开槽端朝下,将下降插入(a)驱动到下降,直到其顶部坐着与混凝土表面齐平。
确保顶部完全水平。
设置混凝土插入件
将设定工具(b)插入螺纹孔中,然后锤击。
如果不可用适当的设置工具,则可以使用等效的平端打孔。
这将导致内部扩展插头将混凝土插入件设置到位。
保护盗窃
将珠柱底座放在锚附近
保持护柱在其保护性包装。小心地将系柱底座放置在靠近安装位置的地方。
安装前,请拆除防护包装。
将系柱设置在混凝土插入物上
将捆球底座直立设置并将其置于混凝土插入件上。
保护盗窃
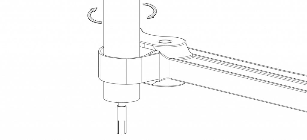
将螺栓拧入船体底部进入混凝土插入件。
使用铺柱基地附近的带扳手拧紧。
检查
检查安装
从一段距离检查视图。
确保系柱垂直于表面,表面平整。
检查盗用尺寸是否有表面损坏的迹象
应尽快覆盖擦伤,以防止生锈并确保系柱的适当生活。有关损坏维修或其他服务需求,请联系爱游戏ayx热门直播Reliance Foundry的销售部门。
维护与保养
爱游戏ayx热门直播Reliance Foundry将其产品生产给最高的设计标准,以确保其耐用性。在大多数北美环境中,常规检查和清洁将确保盗窃案保留他们的美学吸引力。适当的护理和维护需要维护完成并确保完整的使用寿命。

