爱游戏ayx热门直播信实铸造厂的装饰护柱可以通过使用锚铸件进行可拆卸安装。当安装了这个安装系统,一个系柱可以通过简单地解开一个挂锁和移除一个销,通过系柱的基础中心。这种安装方法可以方便地将可拆卸的系柱与传统系柱的美学相结合。
使用这种安装方法,系柱的目的只是作为视觉交通威慑,限制或限制进入特定区域。重要的是要注意,系柱将提供很少的冲击阻力。
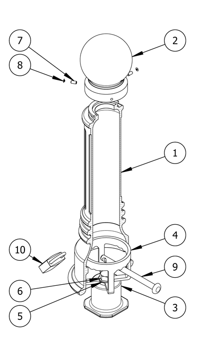
零件清单
| # | 部分 | 数量 |
|---|---|---|
| 1 | 带缆桩基础 | 1 |
| 2 | 带缆桩帽 | 1 |
| 3. | 锚杆铸件1″(包括塞盖顶孔) | 1 |
| 4 | 可移动的山1” | 1 |
| 5 | 垫圈1“ | 1 |
| 6 | 六角螺栓1“ | 1 |
| 7 | 六角套筒固定螺钉 | 3. |
| 8 | 塑料插头 | 3. |
| 9 | 锁销 | 1 |
| 10 | 挂锁(可选) | 1 |
安装设备
| 螺旋钻 | 污垢篡改 |
| 等级 | 3/16“六角扳手 |
| 粉笔/标记 | 卷尺 |
| 1 - 1/2“扳手 | |
笔记
- 为了保护漆面,在安装前保持护柱的原始包装。
- 为了避免擦伤而避免刮擦或损坏梭氏体表面的手柄,因为擦伤会导致生锈。
- 一旦划伤,护柱不能修复到原来的形式,除非重新整理整个表面。

安装前
研究网站计划
网站计划通常由项目的架构师创建。
建筑师将标记每个盗窃案的预期位置。
确保计划与该网站一致,并熟悉系柱的预期安排。
检查危险
在挖掘之前,请务必检查诸如水管,燃气管路,气管和地下布线等危险。
准备混凝土的网站
请咨询您当地的建筑码部门,以确定您所在地区霜线以下的推荐挖掘深度。选择此项或12“,以较大者为准。这是你的挖掘深度。
注意:孔的直径基于系柱模型而不同。请参阅产品图纸以确定特定测量。
将安装标记上的螺旋钻,并钻孔到所需深度和直径。
确保该区域形成适当的边界,以保持湿混凝土。
使用污垢篡改*将土壤压实在预期表面下方。
为指定位置准备锚套
如果周围区域有灰尘,用胶带盖住锚件的底孔,防止碎屑进入螺纹区域。顶部的孔应该已经用插头(A)覆盖。
将锚浇置于指定位置,并确保浇筑顶部与混凝土标号成品表面平齐(锚浇高4″)。
锚固铸件的顶部必须是水平。
把混凝土
混合和倒混凝土
确保使用适当比例的水和混凝土混合物,混凝土应该具有类似于可塑粘土的纹理。
浇筑均匀,保证表面平整,避免破坏锚固。
让混凝土固化
在开始在新的混凝土表面上的建筑项目之前,应至少为2-3天治疗混凝土。
注意:环境中的水分和凉爽的温度会显着减慢过程
安全的带缆桩
将可拆卸安装在锚固铸件的顶部
从锚铸件的顶部孔拆下插头(A)。
将支架放置在锚铸件的顶部,使中心孔对齐。将垫圈放在中心孔的上方。插入1″螺栓,用扳手拧紧,直到安装紧固。
将系柱设置在可移动安装上
保持护柱在其保护性包装。在准备安装时,拆下系柱的保护包装。
将捆球底座直立设置并放在安装上。
插入锁定销
将锁定引脚插入铺柱底座的孔中。顺时针动作扭转盗工以确保到位。系好挂锁。
保护均铺柱帽
从包装中取出铺柱帽。
将盖子放在系柱的轴顶部。
用三个固定螺钉将帽固定到桩柱底座上。等量收紧,以确保上限保持在中间。
将塑料插头(B)放在固定螺钉上。
注意:在将来更换或移除系柱时,系柱帽可以保持完整。
检查
检查安装
从远处观察平面。
确保系柱垂直于表面,表面平坦。
检查护柱表面是否有损坏迹象
有关损坏维修或其他服务需求,请联系爱游戏ayx热门直播信实铸造厂的销售部。
护理和维护
爱游戏ayx热门直播信实铸造以最高的设计标准制造产品,以确保其耐久性。爱游戏ayx热门直播信实铸造厂的护柱使用了耐久的材料粉末涂料。在大多数北美环境中,常规检查和清洁将确保盗窃案保留他们的美学吸引力。适当的护理和保养要求保持表面光洁度,确保完整的使用寿命。
如果在不受干扰的土壤上工作,不需要污垢夯实。↩

