爱游戏ayx热门直播Reliance Foundry Solar Bollards可以安装在现有的混凝土中,中置于混凝土插入件。推荐用于装饰应用的混凝土插入安装,并用于建筑界限。
重要的是要注意,使用这种安装方法,照明系柱将提供很少的抗冲击。系柱的功能主要是照明,以及建筑或景观的突出。太阳能护柱是自给自足的设备,需要很少的持续维护。
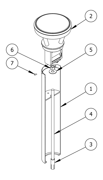
零件清单
| # | 部分 | 数量 |
|---|---|---|
| 1 | 带缆桩基础 | 1 |
| 2 | 系柱太阳能灯帽 | 1 |
| 3. | 3/4“掉落混凝土插入 | 1 |
| 4 | 3/4“螺纹杆 | 1 |
| 5 | 3/4”垫圈 | 1 |
| 6 | 3/4“六角螺母 | 1 |
| 7 | 六角形插座按钮头盖螺栓 | 3. |
安装设备
| 1“砌体钻头 | 3/4″插入坐封工具(或同等工具) |
| 1-1/8“套筒扳手 | 特殊的十六进制钥匙 |
| 扫帚/高压清洗机 | 卷尺 |
| 真空 | 粉笔 |
| 锤 | 锤钻或旋转锤 |
| 等级 | |
笔记
- 为了保护漆面,在安装前保持护柱的原始包装。
- 为了避免擦伤而避免刮擦或损坏梭氏体表面的手柄,因为擦伤会导致生锈。
- 一旦划伤,护柱不能修复到原来的形式,除非重新整理整个表面。

安装前
检查危险
钻孔前始终检查危险,如水管,气体管线和地下布线。
清洁表面
污物和碎片会影响视线,破坏护柱的放置。
在系柱安装之前,用扫帚或高压清洗机清洁混凝土表面。
研究网站计划
网站计划通常由项目的架构师创建。
参考工地平面图确定并标记每个桩柱的精确中心点。
为了保证安装的安全性,请尽量减小安装半径*每一个标记周围都是固体混凝土。
钻的洞
创建飞行员
点击每个标记的中心的导频孔。
这将防止锤子钻头或旋转锤漂移,同时钻孔。
将锤子钻头(或旋转锤)的深度控制设置为3-1 / 8“
如果不可用深度控制,则砖石上的标记为3-1 / 8“。
钻的洞
钻一个具有1“直径和3-1 / 8”深度的孔。
钻孔高速,如果可用,请使用锤子功能。
经常检查砖石钻头,以确保其保持无碎屑。
安全的带缆桩
清晰的洞
用真空吸尘器清除洞内所有的碎片和/或积水。
将掉落插入孔进入孔中
开槽端朝下,向下驱动插入件(A),直到其顶部与混凝土表面平齐。
确保顶部是完美的水平。
设置混凝土插入物
将一个定位工具(B)插入螺纹孔,然后用锤子敲下去。
如果没有合适的设定工具,可以使用等效的平头冲头。
这将导致内部扩展插头将混凝土插入件设置到位。
将系柱底座放置在混凝土插入物附近
将盗用保留在其保护包装中。小心地将铺位基座放在安装位置附近。
准备安装时,请卸下保护性包装。
将系柱放在混凝土插入件上
设置桩基础直立和机动它,使中心与螺纹孔在混凝土插入。
降低螺纹杆并拧紧
通过铺柱的轴降低螺纹杆。
继续将杆拧入混凝土插入件中。
收紧**用手将螺纹杆固定在混凝土插入物中。
安全的带缆桩
将垫圈放在螺纹杆上,使其停留在桩柱的顶部。
将3/4″六角螺母加到螺纹杆上,用套筒扳手拧紧,直至系柱牢固。
安装太阳灯帽
连接电池
当照明组件仍在其包装中,找到电池的电线插头,并连接到连接到灯具的2针插座。
一旦连接,照明灯具将运行测试图案和闪光灯3-5秒。
注意:如果灯不闪烁,请停止安装和联系爱游戏ayx热门直播信实铸造厂的销售部寻求帮助。
保护太阳灯帽
从包装上取下太阳能灯罩。
将太阳灯盖放在系柱的轴上。
用3个螺栓将太阳能灯盖固定在桩柱底座上,并均匀紧固。
注意:对于不对称照明,考虑照明图案。在安装太阳灯盖时,将其扭转到所需的照明图案,然后拧下。
检查
检查安装
从远处观察平面。
确保系柱垂直于表面,表面平坦。
检查护柱表面是否有损坏迹象
应尽快覆盖擦伤,以防止生锈并确保系柱的适当生活。有关损坏维修或其他服务需求,请联系爱游戏ayx热门直播信实铸造厂的销售部。
护理和维护
爱游戏ayx热门直播信实铸造以最高的设计标准制造产品,以确保其耐久性。爱游戏ayx热门直播信实铸造厂的护柱使用了耐久的材料粉末涂料。在大多数北美环境中,常规检查和清洁将确保盗窃案保留他们的美学吸引力。适当的护理和保养要求保持表面光洁度,确保完整的使用寿命。
*混凝土嵌件制造商如www.ucanfast.com推荐锚点间距为7-1/2″,最小边缘距离为9″,以获得100%的性能。↩
**制造商建议拧紧螺纹杆的深度约为1″进入混凝土插入。↩

