使用Reliance Foundry's Bike Bollard Covers添加自行车存储功能的同时保护管子系柱。爱游戏ayx热门直播在该安装方法中,液滴混凝土插入件用于将自行车系船盖安装到管道系柱内的现有混凝土中。
重要的是要注意,增加自行车护柱覆盖到现有的管道护柱不会影响冲击抗力。抗冲击性的高低与原安装直接相关。
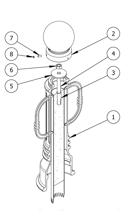
零件清单
| # | 部分 | QTY. |
|---|---|---|
| 1 | 自行车带缆桩封面 | 1 |
| 2 | 自行车带缆桩帽 | 1 |
| 3. | 3/4“掉落混凝土插入 | 1 |
| 4. | 3/4“螺纹杆 | 1 |
| 5. | 3/4“洗衣机 | 1 |
| 6. | 3/4“六角螺母 | 1 |
| 7. | 内六角紧定螺钉 | 3. |
| 7. | 塑料塞子 | 3. |
安装设备
| 1″砖石钻头 | 3/4“插入设置工具(或等效) |
| 1-1 / 8“套筒扳手 | 3/16“六角钥匙 |
| 卷尺 | 真空 |
| 粉笔 | 锤子 |
| 锤子钻或旋转锤 | 水平 |
请注意
- 为了保护完成,保持自行车系柱在原来的包装,直到准确的时刻安装。
- 注意避免刮伤或损坏自行车系母珠表面,因为磨料会导致生锈。
- 一旦划伤,自行车护柱不能修复到原来的形式,除非重新整理整个表面。

安装前
检查管道系柱
检查预先安装的管道带缆桩造成损坏的迹象。任何生锈都应被移除,应尽快覆盖擦伤。如果损坏超出修复,可能需要安装新的管道系柱。
将水准仪贴在系柱侧面,保持垂直。
注意:任何管道系柱的损坏或倾斜都会影响自行车系柱盖的性能。

清洗并干燥管系柱
刷或擦拭管道系柱的表面。碎片可以抵消测量和自行车系柱盖的放置。
标记自行车系杆盖的放置
用粉笔在管柱内的混凝土上标出中心点。
钻孔
创建定位孔
点击孔标记中心的先导孔。
这将防止旋转锤在钻孔时漂移。
将锤子钻头(或旋转锤)的深度控制设置为3-1 / 8“
如果无法控制深度,请在砌体钻头上标记3-1/8″。
钻孔
钻孔直径为1″,深度为3-1/8″。
确保钻头水平。在高速上钻孔,如果可用,使用锤击功能。
经常检查砌体比特,以确保它保持不含碎片。
清除洞
清除使用真空的所有碎片的孔。
设置液滴混凝土插入件
将下降混凝土插入孔进入孔中
随着开槽端朝下,将下降混凝土插入(a)向下驱动,直到其顶部与混凝土表面齐平。
确保顶部完全水平。
设置液滴混凝土插入件
将设定工具(b)插入螺纹孔中,然后锤击。
如果不可用适当的设置工具,则可以使用等效的平端打孔。
这将导致内部膨胀塞设置的drop-in混凝土插入到位。
安装自行车系杆盖
有两种选择安装自行车护柱盖和插入螺纹杆。选项1:插入螺纹杆后,自行车护柱覆盖位置,或选项2:插入螺纹杆前,自行车护柱覆盖位置。
选项1(插入螺纹杆后,自行车护柱盖放置)
清洗管系柱表面
用布清洁任何残留物,灰尘或碎屑。
准备自行车系杆盖安装
将自行车护柱盖放在其保护性包装内,并放置在安装地点附近。
在准备安装时,请拆除其保护包装。
设置自行车系杆盖
抬起自行车系杆盖,并小心地降低管道盗工。
注意:金属自行车铺柱封面可以重力,以防止事故和伤害,确保适当的资源可用于将自行车盗窃覆盖物抬起或安装在其安装上。爱游戏首页
插入螺纹杆并拧紧
降低螺纹杆通过顶部的自行车护柱覆盖和进入落在混凝土插入。
紧缩*螺纹杆用手直到它在掉落混凝土插入件中是安全的。
测量从表面等级到螺纹顶部的总距离。确保此总距离不超过产品图中的最大棒高度。
注:最大杆高度根据自行车护柱盖板型号不同而不同。参考产品图纸确定具体尺寸。
选项2(在自行车盗用盖板之前插入螺纹杆)
插入螺纹杆并拧紧
将螺纹杆插入液滴混凝土插入物中。
紧缩*螺纹杆用手直到它在掉落混凝土插入件中是安全的。
测量从表面等级到螺纹顶部的总距离。确保此总距离不超过产品图中的最大棒高度。
注:最大杆高度根据自行车护柱盖板型号不同而不同。参考产品图纸确定具体尺寸。
清洗管系柱表面
用布清洁任何残留物,灰尘或碎屑。
准备自行车系杆盖安装
将自行车护柱盖放在其保护性包装内,并放置在安装地点附近。
在准备安装时,请拆除其保护包装。
设置自行车系杆盖
抬起自行车系杆盖,小心地降低螺纹杆和管道系柱。
注意:金属盖可以很重,以防止事故和伤害,确保有适当的资源将其提升到适当的位置或安装上。爱游戏首页
固定自行车护柱盖和帽
保护自行车盗用罩
将垫圈放在螺纹杆上,以便它搁置在自行车系柱盖的轴上。
应用3/4″螺母到螺纹杆,并使用扳手拧紧,直到自行车护柱盖安全。
注意:请务必检查自行车系柱盖臂之前的方向,然后确保自行车盗用罩。
保护自行车系柱盖帽
从其包装上拆下自行车护柱盖帽。
将盖子放在自行车系柱盖的轴顶部。
用三个固定螺钉将盖子固定并对准底座。等量收紧,以确保上限保持在中间。

将塑料插头放在固定螺钉上。

检查
检查安装
从一段距离检查视图。
确保自行车系盗管垂直,表面平坦。
检查自行车系柱是否有表面损坏的迹象
磨损处应尽快覆盖,防止生锈,确保自行车系柱的正确使用寿命。如需损坏维修或其他服务,请联系爱游戏ayx热门直播Reliance Foundry的销售部门。
维护与保养
爱游戏ayx热门直播信实铸造以最高的设计标准制造产品,以确保其耐久性。爱游戏ayx热门直播信实铸造厂的自行车护柱的完成与持久粉末涂料。在大多数北美环境中,常规检查和清洁将确保自行车盗窃案保留了他们的美学吸引力。适当的护理和维护需要维护完成并确保完整的使用寿命。
*制造商建议将螺纹杆拧紧至大约1″的深度,插入到drop-in混凝土插入物中↩

