通过使用Reliance Foundry的自行车护柱覆盖线来增加安全的自行车停放功能,同时保护管道护柱。爱游戏ayx热门直播在这种安装方法中,自行车系柱盖使用螺纹杆安装在管道系柱内的新混凝土中。请注意,这种方法只适用于没有任何预先存在的填充的钢管系柱,所以在进行之前一定要检查一下。如果该职位已被填补,请使用混凝土锚或胶锚定安装方法。
在现有的管道护柱上增加自行车护柱盖不会影响抗冲击能力。抗冲击性的高低与原安装直接相关。
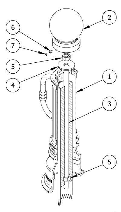
零件清单
| # | 部分 | 数量 |
|---|---|---|
| 1 | 自行车带缆桩封面 | 1 |
| 2 | 自行车带缆桩帽 | 1 |
| 3. | 螺纹杆1” | 1 |
| 4 | 洗衣机1” | 1 |
| 5 | 六角螺母1” | 1 |
| 6 | 内六角紧定螺钉 | 3. |
| 7 | 塑料插头 | 3. |
安装设备
| 3/16“六角扳手 | 铲 |
| 1 - 1/2“扳手 | 卷尺 |
请注意
- 为了保护完成,保持自行车系柱在原来的包装,直到准确的时刻安装。
- 小心处理,避免划伤或损坏自行车系柱表面,因为磨损会导致生锈。
- 一旦划伤,自行车护柱不能修复到原来的形式,除非重新整理整个表面。

安装前
检查管系柱
检查预先安装的管道带缆桩寻找损坏的迹象。任何锈迹都应清除,磨损应尽快覆盖。如果损坏无法修复,可能需要安装新的管系柱。
确保管系柱没有任何预先存在的混凝土填充。用水平尺贴着系柱侧面,保持垂直。如果管道不是垂直的,它可能需要重新安装,否则盖子将不能正确放置。
注:任何管道系柱的损坏或倾斜都会影响系柱盖的性能。
清洗并干燥管系柱
刷或擦护柱表面。碎片可以抵消测量值和护柱盖的放置。
用混凝土填满护柱
混凝土混合。确保使用适当比例的水和混凝土混合。混凝土应该具有与可塑粘土相似的纹理。
用铲子将混凝土填满护柱,顶部留出大约1″的空隙。
在管系柱的顶部创建一个平面。
清洗管系柱表面
用一块布擦去任何残留物、灰尘或碎片。
安装自行车护柱盖
有两种选择安装自行车护柱盖和插入螺纹杆。选项1:插入螺纹杆后,自行车护柱覆盖位置,或选项2:插入螺纹杆前,自行车护柱覆盖位置。
选项1(自行车护柱盖放置后插入螺纹杆)
准备好自行车护柱盖进行安装
将自行车护柱盖放在其保护性包装内,并放置在安装地点附近。
在准备安装时,请拆除其保护包装。
把自行车护柱盖好
提起自行车护柱盖,小心地降低在管道护柱上,使管道护柱中心在自行车护柱盖的轴。
注意:金属自行车护柱盖可以很重,以防止事故和伤害,确保有适当的资源,以提高他们的位置或其安装。爱游戏首页
准备螺纹杆
将1″螺母固定在螺纹杆的底部。
降低螺纹杆
将螺纹杆推进管系柱中心的混凝土中——在顶部留出一个余量,以便稍后使用垫圈和1个″螺母。
注意:如果螺纹杆不能通过自行车护柱盖的中心孔,从底部拆下1″螺母,然后将杆插入中心孔。一旦杆部分插入,通过自行车护柱盖的开口应用1″螺母到杆的底部。
测量从表面坡度到螺纹杆顶部的总距离。确保这个总距离不超过产品图纸中的最大杆高。
注:最大杆高度根据自行车护柱盖板型号不同而不同。参考产品图纸确定具体尺寸。
选项2(在自行车护柱盖放置之前插入螺纹杆)
准备好自行车护柱盖进行安装
将自行车护柱盖放在其保护性包装内,并放置在安装地点附近。
安装前,请拆除防护包装。
准备螺纹杆
将1″螺母固定在螺纹杆的底部。
降低螺纹杆
将螺纹杆推进管系柱中心的混凝土中——在顶部留出一个余量,以便稍后使用垫圈和1个″螺母。
检查螺纹杆的中心,确保它是垂直的。
把自行车护柱盖放在水管护柱上
提起自行车护柱盖,小心地把它放在管子护柱和螺纹杆上。
确保管道系柱是中心在自行车系柱盖板的轴和自行车系柱盖板是垂直的。
注意:金属盖子可以是重的,以防止事故和伤害,确保有适当的资源来提升盖子到适当的位置或其安装。爱游戏首页
测量从表面坡度到螺纹杆顶部的总距离。确保这个总距离不超过产品图纸中的最大杆高。
注:最大杆高度根据自行车护柱盖板型号不同而不同。参考产品图纸确定具体尺寸。
固定自行车护柱盖和帽
使用垫圈和螺母
将垫圈放在螺纹杆上,使其停留在自行车护柱盖的轴的顶部。
将1″螺母应用到螺纹杆上并用手拧紧。
注意:在固定自行车护柱盖之前,一定要检查自行车护柱盖臂的方向。
让混凝土固化
混凝土至少需要2-3天的养护时间。
注意:环境中的水分和凉爽的温度会显著减缓这一过程。
固定自行车护柱盖
用扳手进一步拧紧1″螺母,直到自行车护柱盖牢固。
固定自行车护柱盖帽
从其包装上拆下自行车护柱盖帽。
将盖子放在自行车系柱盖的轴的顶部。
用三个固定螺钉将盖子固定并对准底座。等量收紧,以确保上限保持在中间。

将塑料插头放在固定螺钉上。

检查
检查安装
从远处观察平面。
确保自行车系柱垂直于表面,表面是平坦的。
检查自行车系柱是否有表面损坏的迹象
磨损处应尽快覆盖,防止生锈,确保自行车系柱的正确使用寿命。如需损坏维修或其他服务,请联系爱游戏ayx热门直播信实铸造厂的销售部。
维护与保养
爱游戏ayx热门直播信实铸造以最高的设计标准制造产品,以确保其耐久性。爱游戏ayx热门直播信实铸造厂的自行车护柱的完成与持久粉末涂料。在大多数北美环境中,常规检查和清洁将确保自行车护柱保持其审美吸引力。适当的护理和保养要求保持表面光洁度,确保完整的使用寿命。

